衡宇科技是一家集成电路服务提供商,专注于集成电路、微电子产品、快闪记忆体模块的研发及销售服务,为用户提供应用于通讯、消费电子及数据处理行业的闪存主控芯片产品。

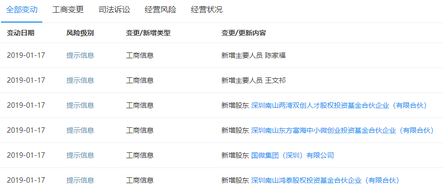
日前,衡宇科技完成了新一轮融资,本轮资方为鸿泰基金、东方富海、南山创投、国微集团(深圳)有限公司。数据显示,衡宇科技工商信息于 2019 年 1 月 17 日发生变更,新增四名股东即:深圳南山鸿泰股权投资基金合伙企业(有限合伙)、 深圳南山东方富海中小微创业投资基金合伙企业(有限合伙)、 深圳南山两湾双创人才股权投资基金合伙企业(有限合伙)、 国微集团(深圳)有限公司。

由于消费类电子产品对 Flash ( 闪存 ) 的需求剧增,全球 NAND Flash 市场预估由 2010 年 200 亿美元发展到 2020 年 600 亿美元。随着 Flash 制程的发展,先进制程产出的 Flash 效能愈来愈差,Flash Controller IC ( 闪存控制芯片 ) 的技术门槛将会越来越高,这对各大 NAND Flash 厂来说,自身的重要性大大提高,带来了角色转变,从过去的配角转变为互相依赖的伙伴关系。衡宇科技接下来的业务发展,应该是主打为用户提供应用于通讯、消费电子及数据处理行业的闪存主控芯片产品。




我的评论
最新评论